Apple just received a patent for a ‘war situation’ device
AI Overview
Summary is AI-generated, newsroom-reviewed.
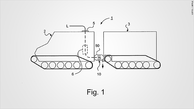
It’s for a “steering device” on large vehicles with pivot joints to help them turn. Think of accordion buses or the way semi-trucks work. But according to the approved patent filing published Tuesday, the invention could be intended for vehicles in a “war situation.” So
Read the full article for more on:
- Important insights and detailed analysis
- Expert commentary on current events
- Breaking developments and updates
It’s for a “steering device” on large vehicles with pivot joints to help them turn. Think of accordion buses or the way semi-trucks work. But according to the approved patent filing published Tuesday, the invention could be intended for vehicles in a “war situation.” So what gives? While the U.S. Patent and Trademark Office granted […]
What readers are saying
Generating a quick summary of the conversation...
This summary is AI-generated. AI can make mistakes and this summary is not a replacement for reading the comments.








COMMENTS